简体 繁体
今天是:


黑龙江水产研究所
您的当前位置: 网站首页 动态中心 科研动态 正文
科研动态

“一种湖泊不同深度层浮游生物定性采集方法”获国家发明专利授权

日期:2022-10-12 14:39 作者:李雷 来源: 字体大小[  ]

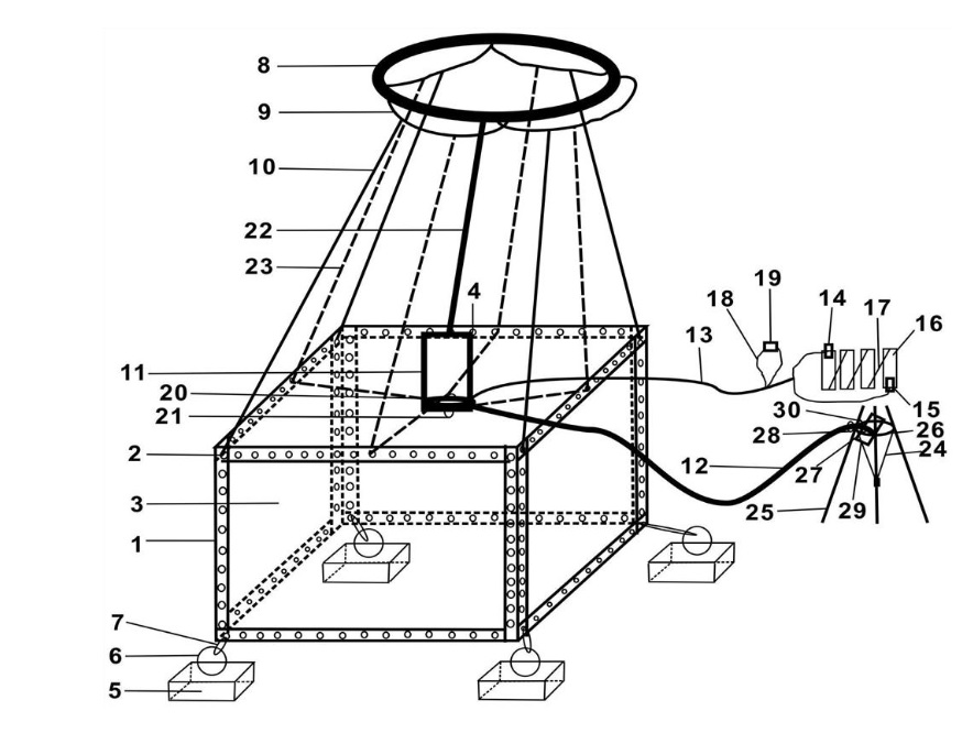
由寒地水域渔业资源调查与评估创新团队李雷等人完成的“一种湖泊不同深度层浮游生物定性采集方法”获国家发明专利授权,授权专利号ZL202011451993.6。

该发明属于水生生物资源调查领域,通过正方体框架、长方体铁块、救生圈、抽水泵、支撑架等组成部分的巧妙结合,进行浮游生物采集。本发明的方法操作简单,在湖泊>5m的深水区可控性较强,能够固定在预计的深水区位,有利于采集不同深度的浮游生物,在野外调查时易于操作,减少工作量,且造价低,降低成本。


打印