日前,由耿龙武等人申请的“一种用于鱼类苗种池塘养殖的网箱”获国家实用新型专利授权,专利号为ZL202022950202.6。


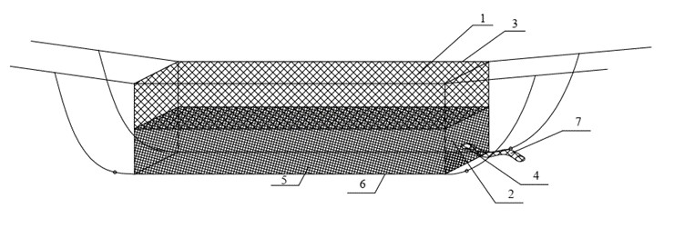
本实用新型研发的鱼类苗种池塘养殖的网箱,网箱呈长方形,长10m、宽3m、高度为2m。由上层大网衣、下层小网衣、钢丝绳框架、出鱼口、聚乙烯固定绳、网底和网袋组成,上层大网衣上端的四个边固定在钢丝绳框架上,上层大网衣的下端与下层小网衣的上端连接,在下层小网衣的侧面设有出鱼口,网底的四个角设有聚乙烯固定绳,网袋的网口设在出鱼口上。上层大网目网衣(0.6cm)和下层小网目网衣(40目)的高度各为1米,仔鱼期用下层小网目网衣养殖,鱼种期用上层大网目网衣养殖。在不更换、不清洗网箱的情况下,在池塘可连续完成仔鱼和鱼种的养殖。
本网箱解决了现有浮动式网箱和固定式网箱在养殖实验鱼时存在捕鱼困难、清洗更换网箱工作强度大的问题,为选育家系提供了一致的生长条件和可靠的生长数据。可用于其它物种选育家系实验苗种的池塘网箱养殖。
