高磊等人完成的“一种在线原位监测固体悬浮物的采集装置”获国家实用新型专利授权,授权专利号:CN 211978395 U。
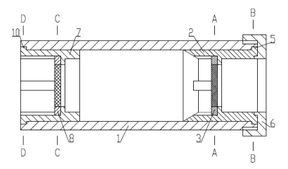
一种在线原位监测固体悬浮物的采集装置,包括收集桶、右紧固套、第二过滤网、限位套、左紧固套、第一过滤网,所述收集桶右侧连接右紧固套,所述右紧固套插入收集桶内,所述右紧固套内部连接第二过滤网,所述第二过滤网具有多个右安装凸起,所述右安装凸起卡在右紧固套内,所述右紧固套右侧具有右定位凸起,所述右定位凸起卡在收集桶内,所述收集桶左侧连接左紧固套,所述左紧固套插入收集桶内,所述左紧固套内侧连接第一过滤网,所述第一过滤网具有多个左安装凸起,所述左安装凸起卡在左紧固套内,所述左紧固套左侧具有左定位凸起,所述左定位凸起卡在收集桶内。
本实用新型专利用于采集一定颗粒大小的固体悬浮物。可应用于渔业环境监测领域。
