覃东立等人完成的“一种用于配置会放热溶液的专用烧杯”获得国家实用新型专利授权,专利授权号:CN 210230005 U。
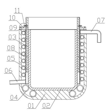
一种用于配置会放热溶液的专用烧杯,包括烧杯外壁、烧杯内壁、辅助杯壁、封闭降温管、循环降温管、循环泵连接口、水管连接口、杯壁滑套,所述烧杯外壁内侧连接烧杯内壁,烧杯外壁下部连接多个封闭降温管,封闭降温管内部具有冷水,烧杯外壁内部连接循环降温管,循环降温管内部具有循环冷水,所述循环降温管左侧具有循环泵连接口,所述循环泵连接口左侧穿过烧杯外壁连接循环泵,循环降温管右侧具有水管连接口,所述水管连接口穿过烧杯外壁连接水管,烧杯内壁外侧具有杯壁滑套,所述杯壁滑套外侧连接循环降温管,杯壁滑套内侧通过圆环螺钉连接辅助杯壁。
可解决配置溶液中加热液体的问题。
